L’une des plus grandes craintes de passionnées pour les voitures électriques est la perte de la boîte de vitesses manuelle. Les configurations à trois pédales disparaissent déjà rapidement des voitures de combustion à mesure que les automatiques s’améliorent et sont plus populaires, mais dans les véhicules électriques, où les moteurs électriques conduisent généralement directement les roues sans aucune boîte de vitesses, il n’y a essentiellement pas besoin d’une sorte de sélection d’engrenages en plus du lecteur, de l’inverse et du parc.
Dans un effort pour améliorer l’attrait des passionnés des véhicules électriques, cependant, certains fabricants ont déjà introduit ou cherchent des moyens de simuler des changements de vitesse dans leurs voitures électriques. Le dernier est Ford, qui a déposé un brevet pour une «boîte de vitesses manuelle» à installer dans EVS.

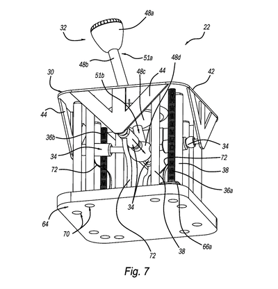
Dessin de brevet Ford montrant le concept de boîte de vitesses manuelle EV
Le brevet, qui a été déposé pour la première fois en septembre 2023 et qui vient d’être publié publiquement, a été repéré par les véhicules électriques intérieurs. Il est décrit en bref comme un gigantesque manuel traditionnel lié à une série d’actionneurs qui, lorsqu’ils fonctionnent, modifient l’écoulement de l’électricité de la batterie aux moteurs – imitant efficacement la façon dont le changement ou la baisse d’un équipement dans un moteur de combustion offre différents niveaux de puissance et de couple.
Le système pourrait en outre être utilisé comme un levier de vitesses séquentiel de va-et-vient ainsi que comme un manuel de la méthode H, bien qu’il ne soit pas clair si une pédale d’embrayage serait présentée.

Dessin de brevet Ford montrant le concept de boîte de vitesses manuelle EV
Ford n’est pas le seul fabricant à chercher des moyens de rendre l’expérience de conduite EV plus attrayante pour les amateurs de voitures de glace dédiés. Le Hyundai Ioniq 5 N fait déjà un travail impressionnant de simulation de décalages, bien qu’avec des pagaies plutôt qu’un engrenage manuel traditionnel, et la Lexus RZ mise à jour présente quelque chose de similaire.
Toyota a également produit des prototypes électriques avec un système qui imite une boîte de vitesses manuelle, en utilisant des capteurs et des logiciels qui détectent le mouvement du « Gearknob » et ajustent la sortie de couple en conséquence.

Ford Capri – arrière
Honda, quant à lui, examine non seulement les engrenages synthétisés, mais utilise des vibrations à travers le siège pour reproduire les imperfections qui rendent un bon moteur de combustion interne si attrayant.
Quant à savoir si l’idée de Ford obtient plus loin, nous devrons attendre et voir – la société a déposé des brevets assez farfelus ces derniers temps, des écrans de porte déployables pour le Bronco à la technologie qui détecte les voitures et les graminées à la police. Si la Mustang devient jamais électrique, cela pourrait rendre la pilule un peu moins amer.
